- sélectionner le modèle
Trouver des Maserati Quattroporte M156 (2014 onwards) pièces d'occasion
Découvrez notre vaste collection de pièces Maserati Quattroporte M156 (2014 onwards) d'occasion, comprenant des panneaux de carrosserie, des moteurs, des boîtes de vitesses, des roues et bien plus encore. Nous prenons grand soin lors du retrait de chaque pièce et sommes fiers de notre manipulation méticuleuse.
Nous inspectons minutieusement chaque pièce, garantissons son origine et la soutenons avec la garantie Eurospares. Avec plus de 35 ans d'expérience dans l'approvisionnement et la fourniture de pièces automobiles de prestige, nous avons acquis une réputation d'excellence. Soyez assuré que vous êtes entre de bonnes mains lorsque vous achetez des pièces Quattroporte M156 (2014 onwards) d'occasion chez Eurospares.
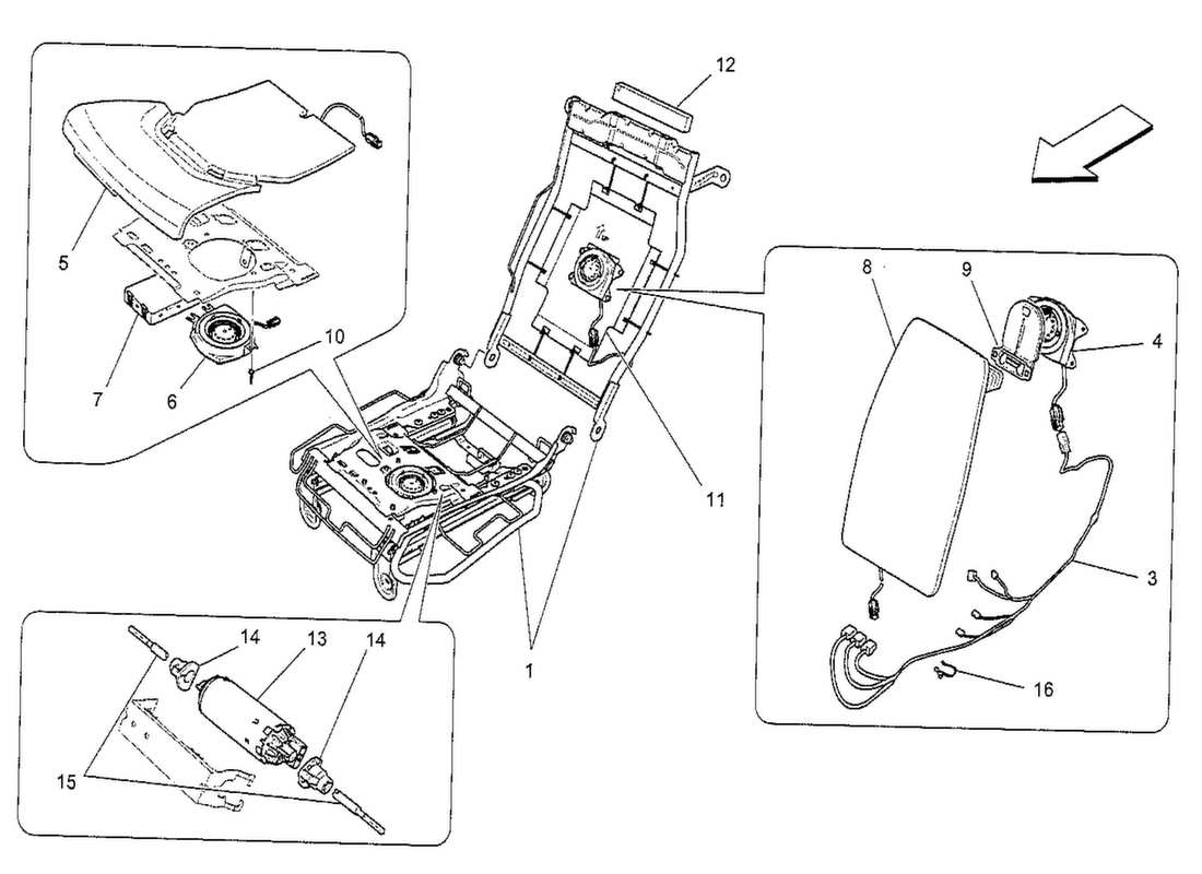
Vous pouvez sélectionner une voiture ci-dessus pour afficher les pièces disponibles pour cette voiture, visiter la vitrine des pièces pour parcourir une sélection de pièces en stock, ou explorer les catalogues Quattroporte M156 (à partir de 2014) pour afficher les diagrammes de pièces et tout voir. les pièces disponibles. De plus vous pouvez lancer une recherche en haut de cette page ou nous contacter si vous souhaitez que nous trouvions la pièce pour vous.

.webp)










-part-diagram.webp)
-part-diagram.webp)